更新时间:2024-12-27 14:42:45点击:来源:医美圈

麻膏,卷起来了
敷麻,可以说几乎是所有皮肤美容项目的第一步。而麻膏,也正是医生和求美者都比较关注的产品。
本月的10日,国家药品监督管理局发布药品批准证明文件送达信息,显示3款麻膏获批已于12月6日获批上市。
12月24日,一天内4项利丙双卡因乳膏申请获国家药品监督管理局的受理,麻膏,终是卷起来了。

一、持“证”上岗的麻膏
市场需求旺盛、合规产品少,催生了行业乱象,表麻,多次被推上风口浪尖。
早在今年年初,央视《经济半小时》栏目便曝光三无表麻的医美乱象。要知道不管是从合法合规经营方面,还是求美者安全方面来说,在医美过程中使用正规药品都是红线。
利丙双卡因乳膏原研企业是阿斯利康,1984年11月首次在瑞典批准上市;1992年12月在美国上市;利丙双卡因乳膏已在全球近百个国家获得批准上市。
国内方面,利丙双卡因乳膏原研产品在1998年12月获批上市,商品名为恩纳®。
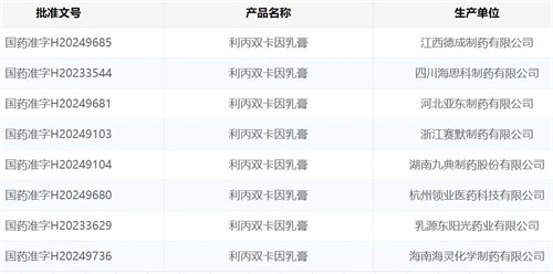
截至到目前,共有多款麻膏产品获批,其中国内生产药品有8款,分别来自江西德成制药有限公司、四川海思科制药有限公司、河北亚东制药有限公司、浙江赛默制药有限公司、湖南九典制药股份有限公司、杭州领业医药科技有限公司、乳源东阳光药业有限公司、海南海灵化学制药有限公司。

除此之外,还有一款同方药业集团有限公司生产的复方利多卡因乳膏获批。
二、“麻膏”,医美下一个风口?
持续升温的表麻赛道,吸引了众多的企业入局。
据国家药监局官网显示,2024年,共有21项利丙双卡因乳膏相关的申请获得受理:



值得注意的是,这些在审理中的利丙双卡因乳膏多为仿制药。
据公开数据显示,2023年,“利丙双卡因乳膏”在国内市场的销售额达到了4.42亿元,占据了国内局部用麻醉剂市场14.30%的份额,总市场规模为30.91亿元。尽管原研药保持着一定的市场优势,但并未形成显著的领先地位,市场中仍存在大量的未开发空间。
我们都知道相对于仿制药而言,原研药或者是创新药更具有竞争力,例如,同方药业集团有限公司凭借其研发的复方利多卡因乳膏,几乎独占了麻膏市场。
但是,为什么仍然众企业仍以仿制药的身份入局了?
在我国,麻药是作为特殊管理的药品进行严格的管控。开发一款全新的麻膏产品需要3到4年的时间,并且在这个过程中各个环节都充满了不确定性。而与之形成鲜明对比的是,在产品端,麻膏更偏向于“薄利多销”的销售模式。
由此可知,企业想要靠此盈利,难免会陷入“价格战”。
随着市场的不断发展和竞争的加剧,未来终端市场对产品的需求将聚焦于合规性、高品质以及独特性兼备的产品上,这对企业而言,既是下一阶段的市场要求,也是所面临的挑战。
11月26日,我国首篇《皮肤表面麻醉制剂临床应用专家共识》正式刊发,进一步规范了麻膏市场的临床应用。期待未来,有更多渗透性强、起效快、维持时间长、舒适度高、使用既便捷又安全的表面麻醉产品,最大限度满足临床,市场的需求。